2012年04月13日来源:JRS直播 作者:cnitpm
航天型号是复杂的系统工程,应用技术复杂且新,具有不确定性和重要性高,持续时间长,需要巨大的资源投入和成千上万人协同工作。我国航天型号研制中推广应用项目管理技术是从20世纪60年代初开始的。华罗庚教授将这种技术在中国普及推广,称作统筹方法(现在通常称为“网络计划技术”);钱学森院士提出的系统工程方法,解决了如何研制一个复杂的工程系统的问题,即“怎样把比较笼统的初始研制要求逐步地变为成千上万个研制任务参加者的具体工作,以及怎样把这些工作最终综合成为一个技术上合理、经济上合算、研制周期短、能协调运转的实际系统。”然而,过去我们对项目管理的应用,仅仅是将PERT或CPM(关键线路法)技术应用到航天型号项目的研制计划制定过程中,并没有按项目的特点,建立项目组织,对型号项目实行项目管理,也没有应用项目管理的技术来计划、控制型号研制任务的进度、质量及成本。
1、我国航天型号研制管理现状
随着我国航天科技工业的发展,逐步建立健全了一整套行之有效的组织指挥系统――型号工程项目的总设计师技术指挥系统和型号工程项目的总指挥行政指挥系统(简称“两条指挥线”)。在下达工程项目研制任务的同时,任命该工程项目的总设计师、副总设计师,而且随着研制工作的开展,还要任命各分系统主任设计师和单项设备、部件的主管设计师,建立起相应的设计师系统。这样以各级设计师为核心,加上各级行政系统的技术负责人,共同组成工程项目研制工作技术指挥线。行政指挥线是以各级行政主管和该工程项目的领导为首,以计划及其调度系统为主,同时由机关职能部门有关人员共同组成,它是工程项目研制工作的行政组织者与指挥者,主要任务是确定研制任务的组织与分工;组织研制协作配套网络,落实重大技术措施,制订与组织工程研制计划与实施;进行日常的指挥调度,按行政管理渠道提供人、财的保障等,以保证设计师系统技术决策的实现与工程项目研制任务的按期完成。
现在,随着技术和管理人员知识结构的变化、现代信息技术的发展、先进管理方法的出现,这种“两条指挥线”所具有的双重领导的先天性制度缺陷及行政指挥系统实行党委集体领导、在决策程序和承担决策后果等方面责任不够明确的问题日益突出,并且经常会影响到项目的进度、质量、成本的控制水平。
2、航天型号项目管理的对策与思考
(1)航天型号项目管理的组织结构和资源配置
随着改革开发的不断深入,我国航天系统的体制也逐步实现由政府部门向企业转化,在管理上实现了从计划科研生产型向科研生产经营型转变。航天型号管理是集团、院、所(厂)三级管理,具有责任分解的优点,都是直线职能型结构,存在资源归属分散,条块分割,各自为政,管理机构重叠,职责不清,可以共享的综合性资源不能分享,不利于优化配置资源等问题;同时,由于目前型号研制是多型号并举,这种组织结构使型号队伍长期保留,跨型号间的技术队伍很难调整,阻碍了高效、合理的人力资源配置。
根据目前航天集团公司的实际,要实现项目管理制度,应建立和完善项目管理队伍的组织体系,按照现代管理学原理,这个组织体系的核心最好是矩阵式的项目经理负责制。为了充分利用人力资源,项目经理和项目组成员在承担一个项目的同时还可以承担其他项目。型号项目一旦立项,首先要设立项目办公室,负责项目的合同、计划、设计、生产、试验、交付和产品的质量保证、成本控制的项目实施。项目办公室由项目经理和各分支经理组成。项目经理由型号承制单位上级任命,全权负责该型号的研制全过程并担任项目办公室主任。该组织因型号项目立项而成立,是柔性的项目组合体,以达到研制成本的降低和资源的合理配置。
项目办公室应以合同形式确定项目办公室和有关部、所、厂的职、权、利关系。尤其要处理好和总体设计部(研发中心)的关系,不能把一切总体工作都以项目办牵头来完成。项目办必要时采用集体合同工作方式,主要讨论和明确任务需求、接口方面的问题,而不是一起制定总体方案。
(2)航天型号项目管理的实施与控制
在航天型号项目实施控制中,主要包括计划、质量和成本控制,三者相辅相成,计划控制是基础,质量和成本控制是关键。项目管理的主要目标是通过合理的控制进度,使成本、质量指标达到最优,使项目的各项实施活动达到最好的绩效。
项目实施过程中处理好项目经理负责制和“两师”系统的关系,这是新老体制转换过程中的特殊问题。总指挥负责制下的两条指挥线制度是型号研制中行之有效的办法,项目办的成立不应在经济、技术统一的情况下削弱技术指挥的功能。
型号质量分层管理。项目经理必须在研制过程中保持性能指标、进度、成本三要素的均衡进展,从合同签订到生产交付,任何一个环节的质量问题,都会导致项目的周期拖延,经费超支,甚至最后失败。院(事业部)本级的质量部门应重点放在制订各型号统一的质量管理规范上,形成一整套管理法规、标准、指南等。各厂、所的质量管理部门应重点放在深入科研第一线,控制、监督、协助、解决具体质量问题、完善研试文件。
(3)完善航天型号项目管理的措施
航天型号项目管理是典型的目标管理,要在航天型号中推行项目管理,必须从组织结构、管理制度和管理方法进行配套改革,其中组织结构是基础,项目管理的标准化和制度化是关键。这就要求在完善组织结构的基础上,把有效的管理模式和方法逐步系统化、规划化和强制化(或信息化),实施更进一步的科学管理,强化管理绩效。
加强管理队伍建设。要重视对管理人员素质的提高,大力开展培训工作,当前尤其要加强项目管理意识和技能的学习,使现代项目管理成为型号管理的标准“语言”,这一学习要紧密结合工作实践,突出层次性、实效性。
3、多型号项目管理模式的构建
多型号项目管理的定位是由所处的环境决定的(见图1)。多项目管理的关注点主要有:项目成功是基本要求,其次是取得比单一项目成功更大的效益;在完成型号任务的基础上,更加关注提高资源利用率和降低成本;更注重战略层面的系统设计,实现企业的战略目标。

(1)构建分层管理组织结构
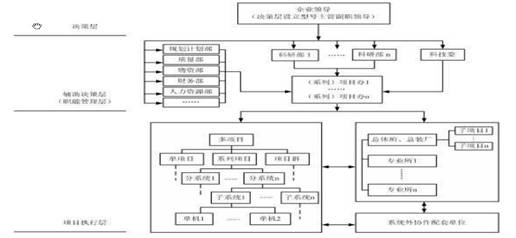
按照能级管理原则,建立决策层、辅助决策层(职能管理层)和项目执行层三级管理结构(见图2)

图2: 型号多项目管理层级图
项目管理按照企业顶层策划组织、职能保障、项目实施分级组成严密的管理体系。各级按职、权、责各施其职、各尽其责,有利于责任制的落实,同时通过加强顶层策划组织和控制,提高企业对项目的横向协调和平衡能力。
(2)建立三维管理体系
传统的航天型号项目管理,实行的是项目管理和职能管理为主的二维管理体系。多项目管理要求强化产品的通用化、系列化、组合化,因此,企业应该努力建立多项目管理、智能管理、专业管理三维立体管理体系。
针对航天型号以专业分类组织实施的特性,在多项目管理环境下,通过强化专业技术管理提高技术创新能力,推进型号产品化工作,从源头上提高型号项目的管理效率。因此,专业技术管理是对项目管理和职能管理的重要补充,也是实现企业多项目管理目标的有效途径。
(3)项目任务模块化
对项目按照总体、分系统、子系统、单机等进行工作结构分解,寻找相似任务,推进共性任务模块化。整合共性技术,归并产品状态,推进共性平台和核心零部件的产品化。这样有利于减少多项目管理幅度和难度,控制成本,提高产业化水平和规模;稳定产品质量,降低研制风险;便于集中精力吃透技术,推进产品技术更新换代,逐步增强平台、单机的竞争优势;减少图纸、工艺文件、工装夹具、刀具量具、库存产品种类、备件等;推进组批生产,完成长生命周期产品的事先投产,缩短系统产品的交付周期。
对类似型号的平台进行梳理、优化、统一,形成公用平台,在此基础上完成基本型和扩展型平台的配置定型确认。对通用性好、可靠、工艺稳定性高的同类产品,通过拟定以特征参数为表征的递进式系列化同类产品。
(4)项目管理过程并行设计
每一个项目可以视作过去和将来项目群或项目组合中的一部分,既可以是过去项目的系列化发展,也可以是未来拓展型号的基本型,项目之间存在继承、借鉴的可能。多项目管理应该重视对过程进行分解,对项目过程(包括制造过程和支持保障过程)进行并行、一体化设计,从一开始就考虑项目的全生命周期(从概念形成到型号任务使命完成)的所有因素,对项目实施过程中的管理路径和流程进行优化组合,推进相似、共性流程的融合。
(5)标准化、规范化建设
对成功型号、成熟型号的设计思路、试验手段、成本管理、进度控制、风险管理、质量管理方法等具有规律性的经验进行归纳和总结,为重复性和相似性项目管理提供标准化、规范化的管理方法。
对任务定点、定价体系、物资采购、后勤保障进行共享或优化组合,建立比较基准,保持项目管理的最佳秩序和最好效益。
建立成熟度模型,为组织中不同的项目团队制定通用的、一致的工具和流程,建立现实的、可操作、实用、可信、准确、相对稳固的评价标准,科学统筹项目之间的资源和能力。
保障职能的社会化、专业化,强化物流中心、试验中心、工艺中心(机械加工、电子装联、铸造、焊接等)建设,通过科学布局、集中建设提高专业化和社会化水平。
(6)人才队伍专业化、系统化配置
面向平台、单机建立专业化、系列化人才队伍。建立“企业型号主管副职领导 型号系列化总指挥 型号系列化项目管理办公室 下属/协作单位系列化项目关办公室”的项目指挥线;建立平台总师 型号总师 型号系列化总设计师 产品首席设计师”的项目技术线;质量、工艺等型号保障线也可按此思路配置人员。
构架航天型号多项目管理模式是涉及面广、影响大的一项系统工程。面对当前形势和任务,航天科研企业必须通过长期持续的研究、探索和实践,总结多项目管理的规律,不断推进管理模式的创新,推进企业可持续发展。
附:中国国防项目管理模式
两弹一星项目管理模式
项目管理和系统工程是紧密相连的,“两弹一星”事业,技术密集,系统复杂,综合性强,广泛运用了系统工程、并行工程和矩阵式管理等现代管理理论与方法,建立了协调、高效的组织指挥和调度系统,从而提高了整体效益,走出了一条投入少、效益高的发展尖端科技的路子。“两弹一星”事业的发展,不仅使我国的国防实力发生了质的飞跃,而且广泛带动了我国科技事业的发展。正如邓小平同志曾指出的:“如果六十年代以来中国没有原子弹、氢弹,没有发射卫星,中国就不能叫有重要影响的大国,就没有现在这样的国际地位。”
航空项目管理模式
典型的是歼八模式、歼十模式、飞豹模式,突出的特点是系统工程的应用、项目办组织的应用和矩阵式项目管理的应用
航天项目管理模式
体制更适合项目管理,项目更适合项目管理,系统工程好,通过资源卫星等形成航天项目管理模式,载人飞船是个项目管理的最佳实践,2006年获国际项目管理大奖
船舶项目管理模式
项目更适合项目管理,在核舰艇等型号中总结形成了一套船舶项目管理模式
电子项目管理模式
行业特点是配套多,主机少,但有许多项目管理的最佳实践,如一些研究所的项目信息化管理,随着信息化社会的到来和武器系统的电子化、集成化、自动化和数据链等等,逐步形成了电子装备项目管理模式
兵器项目管理模式
陆军的特色,虽小,但一样复杂,155就是例证
温馨提示:因考试政策、内容不断变化与调整,JRS直播提供的以上信息仅供参考,如有异议,请考生以权威部门公布的内容为准!